Belt conveyor,RTO,Vacuum Pump,Machining Center,hydraulic cylinder,Motor,Agricultural parts,Air compressor,PTO shaft,Gear,V-belt pulley,Timing pulley,Coupling,Chains,Sprocket,Agricultural gearbox,Gearbox/gear reducer,Ungrouped

Model 400 three-point pile digger is an agricultural equipment used to dig holes for fence piles, road signs or any other work requiring deep holes on the ground. It is specially designed to be connected to the rear of a tractor or similar vehicle to provide the necessary power for its operation. The 400 three-point rear hole excavator is composed of a heavy steel frame with a gearbox, which connects the auger of the excavator to the power output of the tractor. It has a three-point linkage which is connected to the hydraulic system of the tractor to raise and lower the excavator to the required position. The auger is a helical drill bit that rotates as the tractor engine turns the PTO shaft. As the auger gets deeper and deeper, the rotation of the auger forms a hole in the ground. The 400 three-point back-hole excavator has different configurations and different auger sizes, depending on the operation requirements. The use of 400 three-point backhole excavator requires a skilled operatorwith experience in operating agricultural equipment. The operator must understand the terrain, soil type, and the depth and width of the borehole required for the operation. In general, compared with manual excavation, the 400 three-point pile excavator is a reliable and effective tool, which can save a lot of time and energy.
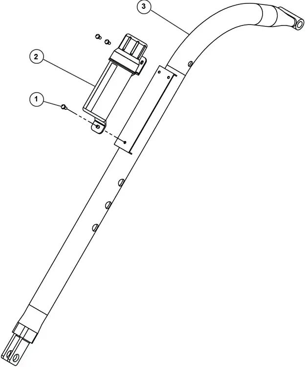
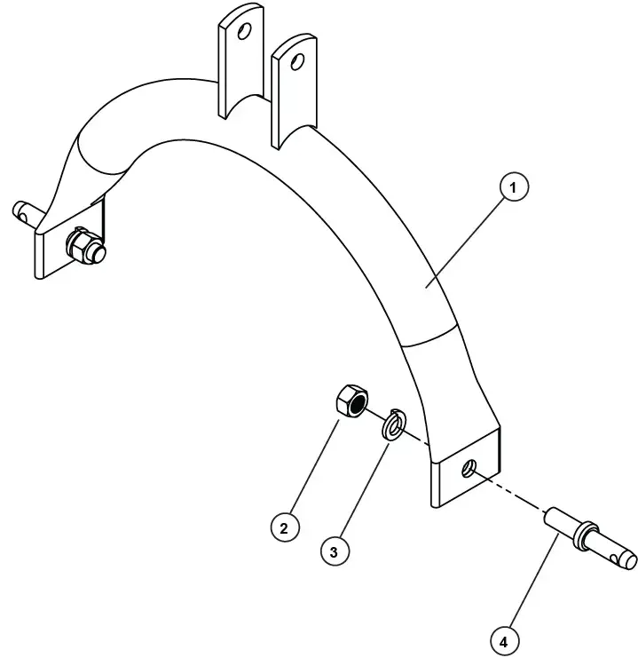
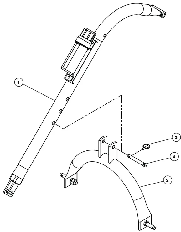
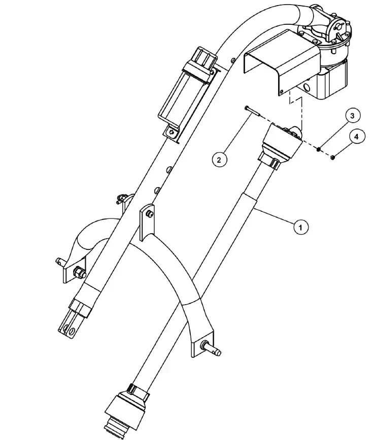
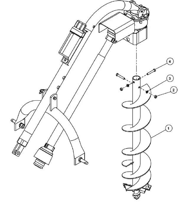
Parts of 400 type three-point pillar digger

Model 400 Post Hole Digger | ||||||
ITEM # | P/N | Description | QTY | |||
1 | 27-024 | Series 1 Driveline | 1 | |||
2 | 95462A545 | 7/8"- 14 Hex Nut | 2 | |||
3 | 91102A037 | 7/8" Lock Washer | 2 | |||
4 | 43-027 | 7/8" Draw Pin | 2 | |||
5 | 24-0016 | Model 400 A-frame | 1 | |||
6 | 24-0029 | A-frame Pin | 1 | |||
7 | 43-047 | 7/16" LYNCH PIN | 1 | |||
8 | N/A | Compact Auger (Various Sizes) | 1 | |||
9 | 95462A033 | 1/2"-13 Hex Nut | 2 | |||
10 | 91102A770 | 1/2"-13 Lock Washer | 2 | |||
11 | 91247A724 | 1/2"-13 X 3" G5 Bolt | 2 | |||
12 | 98338A230 | 5/32" X 1-1/2" Cotter Pin | 2 | |||
13 | 24-0028 | Boom Pin | 1 | |||
14 | 24-0359 | 45 HP Gearbox with Guards | 1 | |||
15 | 95462A031 | 3/8" -16 Hex Nut | 1 | |||
16 | 91102A760 | 3/8" Lock Washer | 1 | |||
17 | 91247A636 | 3/8"-16 X 3" Bolt, G5 | 1 | |||
18 | 24-0015 | Model 400 Boom | 1 | |||
19 | 24-0014 | Manual Canister | 1 | |||
20 | 92865A581 | Bolt, 5/16"-18 X 3/4", Shcs | 3 | |||
Model | Model 400 Compact | Model 650 Standard Duty | Model 1000 Heavy Duty | Model 1500 Extra Heavy Duty |
SKU | 24-0361 | 24-0362 | 24-0318 | 24-0337 |
Category | 0 & 1 | 1 | 1 | 1 & 2 |
Boom Length | 56" | 60" | 72" | 72" |
Tubing Diameter | 2-7/8" | 2-7/8" | 2-7/8" | 3-1/4" |
Draw Pin Width | 20" | 27" | 27" | 32-1/2" |
Drive ine | Series 1 | Series 1 | Series 4 | Series 4 |
Gearbox | 2.9:1 | 2.9:1 | 2.9:1 | 3.18:1 |
Auger Diameters | 6", 9", 12" (3' lengths) | 6", 9", 12" | 6", 9", 12", 18", 24" | 6", 9", 12", 18", 24" |
Weight | 150 bs | 160 bs | 200 bs | 235 bs |
SKU | 24-0361 | 24-0362 | 24-0318 | 24-0337 |
Features | 4 Positions | 3 Positions | 4 Positions | 4 Positions |

Model # / CAT | A(in) Lower Hitch Point Spread -Max | B(in) Lower Hitch Point Spread -Min | C(in) Clevis/ Ball Joint Outside Width | D(in) Upper Hitch Point Pin Dia |
Model 400 / CAT 0, Sub Compact | 26-3/8 | 20-7/8 | 1.75 | 0.75 |
Model 650 / CAT 1 | 33-1/2 | 28 | 1-5/8 | 1.0 |
Model 1000 / CAT 1 | 32-3/8 | 26-7/8 | 1-5/16 | 0.75 |
Model 1500 / CAT 1 & 2 | 38-3/8 | 32-7/8 | 1-5/16 | 0.75 |

Series | Shortest Length | Extended Length | Tractor End | Implement End | Common Uses | SKU |
1 | 27 | 34 | 1-3/8" x 6 QD | 1-3/8" x 6 QD | Fertilizer Spreader | 27-010 |
3 | 40 | 54 | 1-3/8" x 6 QD | 1-3/8" x 6 QD | Finishing Mower, Tiller | 27-011 |
4 | 30 | 40 | 1-3/8" x 6 QD | 1-3/8" Round | Finishing Mower, Tiller | 27-012 |
4 | 32 | 42 | 1-3/8" x 6 QD | 1-3/8" Round | Rotary Cutter | 27-013 |
4 | 36 | 43 | 1-3/8" x 6 QD | 1-3/8"x6 Clutch | Rotary Cutter, Tiller | 27-014 |
4 | 37 | 50 | 1-3/8" x 6 QD | 1-3/8" Round | Rotary Cutters, Pond | 27-015 |
4 | 42 | 58 | 1-3/8" x 6 QD | 1-3/8" Round | Post Hole Digger | 27-016 |
4 | 48 | 65 | 1-3/8" x 6 QD | 1-3/8" x 6 QD | Post Hole Digger | 27-017 |
4 | 53 | 74 | 1-3/8" x 6 QD | 1-1/4" Round | Post Hole Digger | 27-018 |
5 | 42 | 57 | 1-3/8" x 6 QD | 1-3/8" Round | Rotary Cutters | 27-019 |
12 | 48 | 64 | 1-3/8" x 6 QD | 1-1/4" Round | Heavy Duty Digger | 27-020 |
14 | 37 | 49 | 1-3/8" x 6 QD | 1-3/8" Round | Post Hole Digger | 27-021 |
14 | 56 | 77 | 1-3/8" x 6 QD | 1-3/8" Round | 5' & 6' Pull Cutters | 27-022 |









Grinding Workshop

CNC Teeth Machine

CNC Lathe Workshop

Figuring Center

CNC Workshop

Heat Treatment Machine

3D Measurement Machinery

Gear Teeth Profile Test Machines

Heat Treatment Workshop

Tooth Profile Workshop
Low carbon steel, C45, 20CrMnTi, 42CrMo, 40Cr, stainless steel. Can be adapted regarding customer requirements.
Blacking, galvanization, chroming, electrophoresis, color painting, ...
High frequency quenching heat treatment, hardened teeth, carbonizing, nitride, ...

Q: Are you trading company or manufacturer ?
A: Our group consists in 3 factories and 2 abroad sales corporations.
Q: Do you provide samples ? is it free or extra ?
A: Yes, we could offer the sample for free charge but do not pay the cost of freight.
Q: How long is your delivery time ? What is your terms of payment ?
A: Generally it is 40-45 days. The time may vary depending on the product and the level of customization. For standard products, the payment is: 30% T/T in advance ,balance before shippment.
Q: What is the exact MOQ or price for your product ?
A: As an OEM company, we can provide and adapt our products to a wide range of needs.Thus, MOQ and price may greatly vary with size, material and further specifications; For instance, costly products or standard products will usually have a lower MOQ. Please contact us with all relevant details to get the most accurate quotation.
If you have another question, please feel free to contact us.

12 Inch Standard Duty Earth Auger for Post Hole Digger
6 Inch Heavy Duty Post Hole Auger for Post Hole Digger
Heavy Duty 3-Point Post Hole Digger Model 1000 Tool for Cat 1 & 2 Tractors
Model 650 3-Point Post Hole Digger with Optional Auger Combos for Fits All Category 1 Tractors
Various Good Quality 24 Inch Heavy Duty Post Hole Auger for Post Hole Digger
9 Inch Heavy Duty Post Hole Auger for Post Hole Digger